
My short introduction to SSFDC
The cards current come in 0.5 to 16 MByte sizes, (not as big as compact flash cards, but cheaper, byte for byte) and larger sizes planned! Being just half the size of a credit card and flash based, they're just great for data loggers, monitors and 'black-boxes' - just slip the card into the remote monitoring equipment (eg a weather station or system history logger), leave it recording until full (3 months for an 8MByte card, at 1 Byte per second) or an event occurs (a "black box" data recorder), then swap it for a new card, and read the full card straight into your PC or laptop in the field or back at base.
So what's the advantage of SSFDC over other forms of flash, or other methods of data storage?
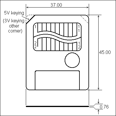
NAND Flash Pinout
|  Pin no.  |  Pin Name  |  SSDFC pinout  |  NAND Flash Pin no.  |
|---|---|---|---|
| 1, 10, 11 | Vss | Ground | 1, 22 |
| 2 | CLE | Command Latch Enable | 2 |
| 3 | ALE | Address Latch Enable | 3 |
| 4 | WE# | Write Enable | 4 |
| 5 | WP# | Write Protect | 5 |
| 6 - 9 | I/O 1 - 4 | I/O Port | 18 - 21 |
| 13 - 16 | I/O 5 - 8 | I/O Port | 24 - 27 |
| 17 | LVD | Low Voltage Detect | |
| 18 | SE# (*) | Spare Area Enable | 40 |
| 19 | R/B# | Ready / Busy | 41 |
| 20 | RE# | Read Enable | 42 |
| 21 | CE# | Chip Enable | 43 |
| 22, 12 | Vcc | Power Supply | 23, 44 (**) |
(*) - Not on some SSFDC (Gnd instead)
(**) - Pin 44 is VccQ (O/P Buffer Supply) on some NAND Flash
For a look at the other options for data loggers see my data logger page
The incomplete 1998 circuit diagram for the data-logger based on a PIC.
The incomplete 1998 circuit diagram for the PC Smartmedia reader/writer has been removed as there is no good reason not to use a standard parallel or USB port Smartmedia card reader now. (subject to getting the FAT format correct!)
The SSFDC organisation web pages. These have now been updated AND MORE IMPORTANTLY, have pdfs giving the physical, logical, electrical and format specifications. (only after you have given full details of yourself etc. Also the PDFs are password protected - the password is give on the download screen; don't forget it :-)
A Reference design by Troubador This is a design for a PCMCIA card with NAND Flash Disk and Serial port, with a .PDF that gives full details of NAND Flash and software code. It refers to a discontinued Nat Semi NAND Flash part, which is identical to the Samsung and Tosh. parts.
For Information on NAND Flash, see SAMSUNG Data Book 1160-5121 for 4Mb to 128Mb - Talk to your local SAMSUNG rep.
Data sheets are now on the web - see either SAMSUNG, or TOSHIBA
Back to microcontroller projects
Last Updated by Steve Lawther on Saturday, 26 February, 2000 at 6:05 PM.